这是描述液压控制阀
拥有先进的设备和合格的工人,Hislohydrauric.com是众所周知的,作为专业的中国辫子软管制造商。我们拥有专业的员工,专业从事本厂制造高质量的液压。欢迎光临批发高精度一丝辫子软管,价格便宜。
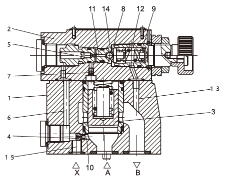
减压阀,导频操作,DB / DBW类型。 .. l5x.
DB和DBW压力阀的类型是导频,用于限制(DB)或限制(DBW)通过电磁阀操作的压力。压力释放阀主要由主阀(1)组成,带有主阀芯盒(3)和具有压力调节元件的先导阀(2)。
型DB压力释放阀
同时,通过控制线(6)和(7)在主阀芯(3)的弹簧加载侧上的控制线(4)和(5)上通过控制线(6)和(7)施加压力的通道A的压力在试验阀(2)中的球(8)上。如果通道A中的压力升高在弹簧(9)处的设定值,则球(8)对弹簧(9)打开。至于内部控制形式,信号由通道A供应的控制油(10)和(6)给出。来自主阀芯(3)的弹簧加载侧的油,通过控制线(7),孔口(11然后,球(8),然后流入弹簧室(12)。关于内部排水型DB···L5X····Y,油通过控制线(14)流入罐中。借助于孔口(4)和(5),在主阀芯(3)处产生压力下降,并且从端口A到B端口B的连接在设定操作压力维持不变时打开。压力泄压阀可以在外部控制端口X(15)的情况下卸载或移位不同的压力(第二额定压力值)。
减压阀型DBW
减压阀型DBW的基本功能与压力浮雕阀型DB相同,差异是阀门类型DBW通过内置方向阀(16)操作卸载
我们是中国优秀的中国制造商。我们的产品,如一条线辫子软管,液压控制阀供应商,分流制造商,液压阀供应商,液压阀门出售,具有优良的品质和价格实惠。期待您的询问。
这是描述液压控制阀
拥有先进的设备和合格的工人,Hislohydrauric.com是众所周知的,作为专业的中国辫子软管制造商。我们拥有专业的员工,专业从事本厂制造高质量的液压。欢迎光临批发高精度一丝辫子软管,价格便宜。
减压阀,导频操作,DB / DBW类型。 .. l5x.
DB和DBW压力阀的类型是导频,用于限制(DB)或限制(DBW)通过电磁阀操作的压力。压力释放阀主要由主阀(1)组成,带有主阀芯盒(3)和具有压力调节元件的先导阀(2)。
型DB压力释放阀
同时,通过控制线(6)和(7)在主阀芯(3)的弹簧加载侧上的控制线(4)和(5)上通过控制线(6)和(7)施加压力的通道A的压力在试验阀(2)中的球(8)上。如果通道A中的压力升高在弹簧(9)处的设定值,则球(8)对弹簧(9)打开。至于内部控制形式,信号由通道A供应的控制油(10)和(6)给出。来自主阀芯(3)的弹簧加载侧的油,通过控制线(7),孔口(11然后,球(8),然后流入弹簧室(12)。关于内部排水型DB···L5X····Y,油通过控制线(14)流入罐中。借助于孔口(4)和(5),在主阀芯(3)处产生压力下降,并且从端口A到B端口B的连接在设定操作压力维持不变时打开。压力泄压阀可以在外部控制端口X(15)的情况下卸载或移位不同的压力(第二额定压力值)。
减压阀型DBW
减压阀型DBW的基本功能与压力浮雕阀型DB相同,差异是阀门类型DBW通过内置方向阀(16)操作卸载
我们是中国优秀的中国制造商。我们的产品,如一条线辫子软管,液压控制阀供应商,分流制造商,液压阀供应商,液压阀门出售,具有优良的品质和价格实惠。期待您的询问。
